C5-E Modbus RTU/USB Online Manual

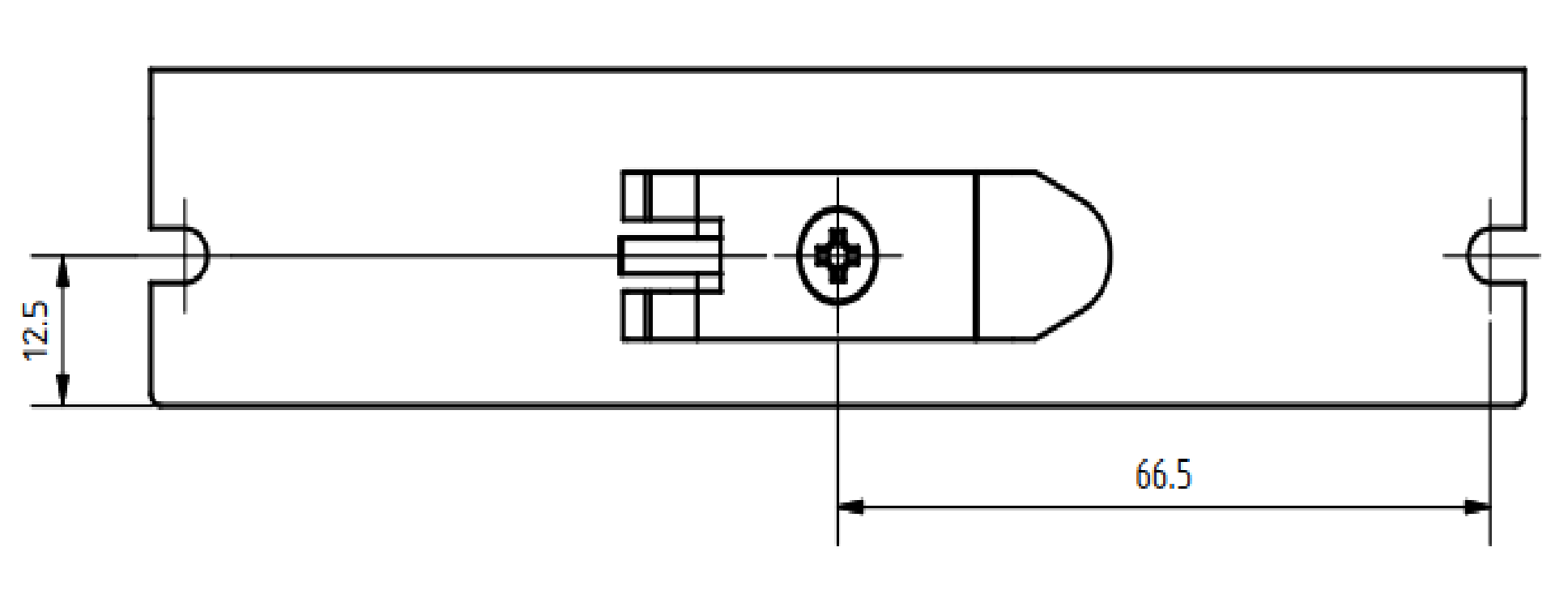
Dimensioned drawings and installation options

You can secure the controller by its side tabs to a flat mounting surface using screws or mount it on a TH35 DIN rail in your switch cabinet using the supplied DIN rail clip.

▶   next

Contents