Pin assignment Voltage supply Voltage source The operating or supply voltage supplies a battery, a transformer with rectification and filtering, or a switching power supply. Notice image/svg+xml EMC: For a DC power supply line longer than 30 m or when using the motor on a DC bus, additional interference-suppression and protection measures are necessary. ► Long data or supply lines are to be routed through ferrites. ► Motor cables are to be routed through ferrites (74271222 from Würth or equivalent). Connections Pin 1 is marked with an "*" below. CLC3: CLC6: CLC15: JST B3B-XHNanotec cable: ZK-XHP-3-500 JST B3B-VHNanotec cable: ZK-VHR-3-500 Molex Mega-Fit 2002411113Nanotec cable: ZK-MMEGA-3-500 Pin Function Note Color Nanotec cable 1 +UB Input voltage for the main supply (power part), 12 V - 57.6 V DC red 2 +UB_Logic Input voltage for the logic supply 12 V - 30 V DC, max. consumption approx. 1.2 A green 3 GND GND black Note: The logic supply powers the electronics, the sensors and the communication interface. The windings of the motor are not supplied by the logic supply. Permissible operating voltage The maximum operating voltage is 57.6 V DC. If the input voltage of the controller exceeds the threshold value set in 2034h, the motor is switched off and an error triggered. Above the response threshold set in 4021h:02h, the internal brake chopper (ballast resistor) is also switched on; it has the following features: Property CLC3 CLC6 CLC15 Resistance in ohm 22 22 15 Energy consumption in the case of short load pulses (<1 s), [Ws] 87 55 162 Energy in the case of longer loads (up to 5 s), [Ws] 7.3 7.3 29 Continuous cooling power, [W] 0.7 0.7 4.5 The minimum operating voltage is 12 V DC. If the input voltage of the controller falls below 10 V, the motor is switched off and an error triggered. A charging capacitor of at least 4700 µF / 50 V (approx. 1000 µF per ampere rated current) must be connected to the supply voltage to avoid exceeding the permissible operating voltage (e.g., during braking). Motor connection Pin 1 is marked with an "*" below. CLC3: CLC6: CLC15: JST B4B-XHNanotec-Kabel: ZK-XHP4-500-1 JST B4B-VHNanotec-Kabel: ZK-VHR-4-500 Molex Mega-Fit 768290104Nanotec-Kabel: ZK-MMF-4-500 Pin Function CLC3/6 (stepper motor) Function CLC3/6 (BLDC motor) Function CLC15 (only BLDC motor) Color Nanotec cable CLC3 CLC6 CLC15 1 A U U red red yellow 2 A\ V Not used black black - 3 B W V green green red 4 B\ Not used W yellow blue black Inputs and outputs Pins 1 and 2 are marked below. CLC3: CLC6: CLC15: Molex CLIK Mate 5031541490Nanotec cable: ZK-MCM-14-500-S Molex CLIK Mate 5031541490Nanotec cable: ZK-MCM-14-500-S Molex CLIK Mate 5031541490Nanotec cable: ZK-MCM-14-500-S Pin Function Note Color Nanotec cable 1 GND black 2 Input 1 5 V / 24 V digital input, switchable by means of software with object 323Ah, direction input in clock-direction mode green 3 Input 2 5 V / 24 V digital input, switchable by means of software with object 323Ah, clock input in clock-direction mode brown 4 Input 3 5 V / 24 V digital input, switchable by means of software with object 323Ah, max. 1 MHz gray 5 Input 4 5 V to 24 V digital input, switchable by means of software with object 323Ah pink 6 Input 5 5 V / 24 V digital input, switchable by means of software with object 323Ah, max. 1 MHz yellow 7 Input 6 5 V to 24 V digital input, switchable by means of software with object 323Ah brown / green 8 Analog input 1 0 V…+24 V, 12-bit resolution violet 9 Analog input 2 0 V…+24 V, 12-bit resolution gray / pink 10 Output 1 Digital output, push-pull 5 V / 24 V (UB_Logic), switchable by means of software with object 323Ah, max. 100 mA red / blue 11 Output 2 Digital output, push-pull 5 V / 24 V (UB_Logic), switchable by means of software with object 323Ah, max. 100 mA white / green 12 Brake + PWM-controlled output, supplied by UB_Logic, up to 20 KHz, max. 1500 mA white 13 Brake - GND for brake blue 14 UB_Logic 12 V - 30 V DC, max. consumption approx. 1.5 A red Incremental encoder/Hall sensors Pin 1 and pin 2 are marked in the figure. CLC3: CLC6: CLC15: JST S12B-PADSS-1 JST S12B-PADSS-1 JST S12B-PADSS-1 Suitable Nanotec cables (not included in the scope of delivery): ZK-PADP-12-500-S ZK-NTO3-10-500-PADP ZK-NOE-10-500-S-PADP ZK-WEDL-500-S-PADP Pin Function Note 1 GND 2 Vcc 5 V DC, output and supply voltage for encoder / Hall sensor; max. 350 mA 3 A 5 V signal, max. 1 MHz 4 B 5 V signal, max. 1 MHz 5 A\ 5 V signal, max. 1 MHz 6 B\ 5 V signal, max. 1 MHz 7 I 5 V signal, max. 1 MHz 8 I\ 5 V signal, max. 1 MHz 9 Hall 1 5 V signal 10 Hall 2 5 V signal 11 Hall 3 5 V signal 12 Shielding Shielding Notice image/svg+xml If a single-ended encoder is used, channels A/, B/ and I/ are not evaluated! To ensure that a single-ended encoder is correctly detected: ► Do not connect anything to pins A\, B\, I\, and do not connect these pins to ground (GND). SSI encoder Pin 1 is marked with an "*" below. CLC3: CLC6: CLC15: Molex CLIK-Mate 5023820670Nanotec cable: ZK-MCM-6-500-S Molex CLIK-Mate 5023820670Nanotec cable: ZK-MCM-6-500-S Molex CLIK-Mate 5023820670Nanotec cable: ZK-MCM-6-500-S Pin Function Note Color Nanotec cable 1 Vcc +10 V DC, output and supply voltage for SSI encoder, max. 350 mA red 2 CLCK A up to 10 MHz green 3 CLCK B up to 10 MHz brown 4 DATA A white 5 DATA B gray 6 GND black EtherCAT IN Pin 1 is marked with an "*" below. Type: RJ45 socket Pin Function Note 1 TD+ 2 TD− 3 RD+ 4 n.c 5 n.c. 6 RD− 7 n.c. 8 n.c. EtherCAT OUT Pin 1 is marked with an "*" below. Type: RJ45 socket Pin Function Note 1 TD+ 2 TD− 3 RD+ 4 n.c 5 n.c. 6 RD− 7 n.c. 8 n.c. USB USB-C connection for configuration/parameterization. :
Pin assignment Voltage supply Voltage source The operating or supply voltage supplies a battery, a transformer with rectification and filtering, or a switching power supply. Notice image/svg+xml EMC: For a DC power supply line longer than 30 m or when using the motor on a DC bus, additional interference-suppression and protection measures are necessary. ► Long data or supply lines are to be routed through ferrites. ► Motor cables are to be routed through ferrites (74271222 from Würth or equivalent). Connections Pin 1 is marked with an "*" below. CLC3: CLC6: CLC15: JST B3B-XHNanotec cable: ZK-XHP-3-500 JST B3B-VHNanotec cable: ZK-VHR-3-500 Molex Mega-Fit 2002411113Nanotec cable: ZK-MMEGA-3-500 Pin Function Note Color Nanotec cable 1 +UB Input voltage for the main supply (power part), 12 V - 57.6 V DC red 2 +UB_Logic Input voltage for the logic supply 12 V - 30 V DC, max. consumption approx. 1.2 A green 3 GND GND black Note: The logic supply powers the electronics, the sensors and the communication interface. The windings of the motor are not supplied by the logic supply. Permissible operating voltage The maximum operating voltage is 57.6 V DC. If the input voltage of the controller exceeds the threshold value set in 2034h, the motor is switched off and an error triggered. Above the response threshold set in 4021h:02h, the internal brake chopper (ballast resistor) is also switched on; it has the following features: Property CLC3 CLC6 CLC15 Resistance in ohm 22 22 15 Energy consumption in the case of short load pulses (<1 s), [Ws] 87 55 162 Energy in the case of longer loads (up to 5 s), [Ws] 7.3 7.3 29 Continuous cooling power, [W] 0.7 0.7 4.5 The minimum operating voltage is 12 V DC. If the input voltage of the controller falls below 10 V, the motor is switched off and an error triggered. A charging capacitor of at least 4700 µF / 50 V (approx. 1000 µF per ampere rated current) must be connected to the supply voltage to avoid exceeding the permissible operating voltage (e.g., during braking). Motor connection Pin 1 is marked with an "*" below. CLC3: CLC6: CLC15: JST B4B-XHNanotec-Kabel: ZK-XHP4-500-1 JST B4B-VHNanotec-Kabel: ZK-VHR-4-500 Molex Mega-Fit 768290104Nanotec-Kabel: ZK-MMF-4-500 Pin Function CLC3/6 (stepper motor) Function CLC3/6 (BLDC motor) Function CLC15 (only BLDC motor) Color Nanotec cable CLC3 CLC6 CLC15 1 A U U red red yellow 2 A\ V Not used black black - 3 B W V green green red 4 B\ Not used W yellow blue black Inputs and outputs Pins 1 and 2 are marked below. CLC3: CLC6: CLC15: Molex CLIK Mate 5031541490Nanotec cable: ZK-MCM-14-500-S Molex CLIK Mate 5031541490Nanotec cable: ZK-MCM-14-500-S Molex CLIK Mate 5031541490Nanotec cable: ZK-MCM-14-500-S Pin Function Note Color Nanotec cable 1 GND black 2 Input 1 5 V / 24 V digital input, switchable by means of software with object 323Ah, direction input in clock-direction mode green 3 Input 2 5 V / 24 V digital input, switchable by means of software with object 323Ah, clock input in clock-direction mode brown 4 Input 3 5 V / 24 V digital input, switchable by means of software with object 323Ah, max. 1 MHz gray 5 Input 4 5 V to 24 V digital input, switchable by means of software with object 323Ah pink 6 Input 5 5 V / 24 V digital input, switchable by means of software with object 323Ah, max. 1 MHz yellow 7 Input 6 5 V to 24 V digital input, switchable by means of software with object 323Ah brown / green 8 Analog input 1 0 V…+24 V, 12-bit resolution violet 9 Analog input 2 0 V…+24 V, 12-bit resolution gray / pink 10 Output 1 Digital output, push-pull 5 V / 24 V (UB_Logic), switchable by means of software with object 323Ah, max. 100 mA red / blue 11 Output 2 Digital output, push-pull 5 V / 24 V (UB_Logic), switchable by means of software with object 323Ah, max. 100 mA white / green 12 Brake + PWM-controlled output, supplied by UB_Logic, up to 20 KHz, max. 1500 mA white 13 Brake - GND for brake blue 14 UB_Logic 12 V - 30 V DC, max. consumption approx. 1.5 A red Incremental encoder/Hall sensors Pin 1 and pin 2 are marked in the figure. CLC3: CLC6: CLC15: JST S12B-PADSS-1 JST S12B-PADSS-1 JST S12B-PADSS-1 Suitable Nanotec cables (not included in the scope of delivery): ZK-PADP-12-500-S ZK-NTO3-10-500-PADP ZK-NOE-10-500-S-PADP ZK-WEDL-500-S-PADP Pin Function Note 1 GND 2 Vcc 5 V DC, output and supply voltage for encoder / Hall sensor; max. 350 mA 3 A 5 V signal, max. 1 MHz 4 B 5 V signal, max. 1 MHz 5 A\ 5 V signal, max. 1 MHz 6 B\ 5 V signal, max. 1 MHz 7 I 5 V signal, max. 1 MHz 8 I\ 5 V signal, max. 1 MHz 9 Hall 1 5 V signal 10 Hall 2 5 V signal 11 Hall 3 5 V signal 12 Shielding Shielding Notice image/svg+xml If a single-ended encoder is used, channels A/, B/ and I/ are not evaluated! To ensure that a single-ended encoder is correctly detected: ► Do not connect anything to pins A\, B\, I\, and do not connect these pins to ground (GND). SSI encoder Pin 1 is marked with an "*" below. CLC3: CLC6: CLC15: Molex CLIK-Mate 5023820670Nanotec cable: ZK-MCM-6-500-S Molex CLIK-Mate 5023820670Nanotec cable: ZK-MCM-6-500-S Molex CLIK-Mate 5023820670Nanotec cable: ZK-MCM-6-500-S Pin Function Note Color Nanotec cable 1 Vcc +10 V DC, output and supply voltage for SSI encoder, max. 350 mA red 2 CLCK A up to 10 MHz green 3 CLCK B up to 10 MHz brown 4 DATA A white 5 DATA B gray 6 GND black EtherCAT IN Pin 1 is marked with an "*" below. Type: RJ45 socket Pin Function Note 1 TD+ 2 TD− 3 RD+ 4 n.c 5 n.c. 6 RD− 7 n.c. 8 n.c. EtherCAT OUT Pin 1 is marked with an "*" below. Type: RJ45 socket Pin Function Note 1 TD+ 2 TD− 3 RD+ 4 n.c 5 n.c. 6 RD− 7 n.c. 8 n.c. USB USB-C connection for configuration/parameterization. :
Voltage supply Voltage source The operating or supply voltage supplies a battery, a transformer with rectification and filtering, or a switching power supply. Notice image/svg+xml EMC: For a DC power supply line longer than 30 m or when using the motor on a DC bus, additional interference-suppression and protection measures are necessary. ► Long data or supply lines are to be routed through ferrites. ► Motor cables are to be routed through ferrites (74271222 from Würth or equivalent). Connections Pin 1 is marked with an "*" below. CLC3: CLC6: CLC15: JST B3B-XHNanotec cable: ZK-XHP-3-500 JST B3B-VHNanotec cable: ZK-VHR-3-500 Molex Mega-Fit 2002411113Nanotec cable: ZK-MMEGA-3-500 Pin Function Note Color Nanotec cable 1 +UB Input voltage for the main supply (power part), 12 V - 57.6 V DC red 2 +UB_Logic Input voltage for the logic supply 12 V - 30 V DC, max. consumption approx. 1.2 A green 3 GND GND black Note: The logic supply powers the electronics, the sensors and the communication interface. The windings of the motor are not supplied by the logic supply. Permissible operating voltage The maximum operating voltage is 57.6 V DC. If the input voltage of the controller exceeds the threshold value set in 2034h, the motor is switched off and an error triggered. Above the response threshold set in 4021h:02h, the internal brake chopper (ballast resistor) is also switched on; it has the following features: Property CLC3 CLC6 CLC15 Resistance in ohm 22 22 15 Energy consumption in the case of short load pulses (<1 s), [Ws] 87 55 162 Energy in the case of longer loads (up to 5 s), [Ws] 7.3 7.3 29 Continuous cooling power, [W] 0.7 0.7 4.5 The minimum operating voltage is 12 V DC. If the input voltage of the controller falls below 10 V, the motor is switched off and an error triggered. A charging capacitor of at least 4700 µF / 50 V (approx. 1000 µF per ampere rated current) must be connected to the supply voltage to avoid exceeding the permissible operating voltage (e.g., during braking).
Voltage source The operating or supply voltage supplies a battery, a transformer with rectification and filtering, or a switching power supply. Notice image/svg+xml EMC: For a DC power supply line longer than 30 m or when using the motor on a DC bus, additional interference-suppression and protection measures are necessary. ► Long data or supply lines are to be routed through ferrites. ► Motor cables are to be routed through ferrites (74271222 from Würth or equivalent).
Connections Pin 1 is marked with an "*" below. CLC3: CLC6: CLC15: JST B3B-XHNanotec cable: ZK-XHP-3-500 JST B3B-VHNanotec cable: ZK-VHR-3-500 Molex Mega-Fit 2002411113Nanotec cable: ZK-MMEGA-3-500 Pin Function Note Color Nanotec cable 1 +UB Input voltage for the main supply (power part), 12 V - 57.6 V DC red 2 +UB_Logic Input voltage for the logic supply 12 V - 30 V DC, max. consumption approx. 1.2 A green 3 GND GND black Note: The logic supply powers the electronics, the sensors and the communication interface. The windings of the motor are not supplied by the logic supply.
Permissible operating voltage The maximum operating voltage is 57.6 V DC. If the input voltage of the controller exceeds the threshold value set in 2034h, the motor is switched off and an error triggered. Above the response threshold set in 4021h:02h, the internal brake chopper (ballast resistor) is also switched on; it has the following features: Property CLC3 CLC6 CLC15 Resistance in ohm 22 22 15 Energy consumption in the case of short load pulses (<1 s), [Ws] 87 55 162 Energy in the case of longer loads (up to 5 s), [Ws] 7.3 7.3 29 Continuous cooling power, [W] 0.7 0.7 4.5 The minimum operating voltage is 12 V DC. If the input voltage of the controller falls below 10 V, the motor is switched off and an error triggered. A charging capacitor of at least 4700 µF / 50 V (approx. 1000 µF per ampere rated current) must be connected to the supply voltage to avoid exceeding the permissible operating voltage (e.g., during braking).
Motor connection Pin 1 is marked with an "*" below. CLC3: CLC6: CLC15: JST B4B-XHNanotec-Kabel: ZK-XHP4-500-1 JST B4B-VHNanotec-Kabel: ZK-VHR-4-500 Molex Mega-Fit 768290104Nanotec-Kabel: ZK-MMF-4-500 Pin Function CLC3/6 (stepper motor) Function CLC3/6 (BLDC motor) Function CLC15 (only BLDC motor) Color Nanotec cable CLC3 CLC6 CLC15 1 A U U red red yellow 2 A\ V Not used black black - 3 B W V green green red 4 B\ Not used W yellow blue black
Inputs and outputs Pins 1 and 2 are marked below. CLC3: CLC6: CLC15: Molex CLIK Mate 5031541490Nanotec cable: ZK-MCM-14-500-S Molex CLIK Mate 5031541490Nanotec cable: ZK-MCM-14-500-S Molex CLIK Mate 5031541490Nanotec cable: ZK-MCM-14-500-S Pin Function Note Color Nanotec cable 1 GND black 2 Input 1 5 V / 24 V digital input, switchable by means of software with object 323Ah, direction input in clock-direction mode green 3 Input 2 5 V / 24 V digital input, switchable by means of software with object 323Ah, clock input in clock-direction mode brown 4 Input 3 5 V / 24 V digital input, switchable by means of software with object 323Ah, max. 1 MHz gray 5 Input 4 5 V to 24 V digital input, switchable by means of software with object 323Ah pink 6 Input 5 5 V / 24 V digital input, switchable by means of software with object 323Ah, max. 1 MHz yellow 7 Input 6 5 V to 24 V digital input, switchable by means of software with object 323Ah brown / green 8 Analog input 1 0 V…+24 V, 12-bit resolution violet 9 Analog input 2 0 V…+24 V, 12-bit resolution gray / pink 10 Output 1 Digital output, push-pull 5 V / 24 V (UB_Logic), switchable by means of software with object 323Ah, max. 100 mA red / blue 11 Output 2 Digital output, push-pull 5 V / 24 V (UB_Logic), switchable by means of software with object 323Ah, max. 100 mA white / green 12 Brake + PWM-controlled output, supplied by UB_Logic, up to 20 KHz, max. 1500 mA white 13 Brake - GND for brake blue 14 UB_Logic 12 V - 30 V DC, max. consumption approx. 1.5 A red
Incremental encoder/Hall sensors Pin 1 and pin 2 are marked in the figure. CLC3: CLC6: CLC15: JST S12B-PADSS-1 JST S12B-PADSS-1 JST S12B-PADSS-1 Suitable Nanotec cables (not included in the scope of delivery): ZK-PADP-12-500-S ZK-NTO3-10-500-PADP ZK-NOE-10-500-S-PADP ZK-WEDL-500-S-PADP Pin Function Note 1 GND 2 Vcc 5 V DC, output and supply voltage for encoder / Hall sensor; max. 350 mA 3 A 5 V signal, max. 1 MHz 4 B 5 V signal, max. 1 MHz 5 A\ 5 V signal, max. 1 MHz 6 B\ 5 V signal, max. 1 MHz 7 I 5 V signal, max. 1 MHz 8 I\ 5 V signal, max. 1 MHz 9 Hall 1 5 V signal 10 Hall 2 5 V signal 11 Hall 3 5 V signal 12 Shielding Shielding Notice image/svg+xml If a single-ended encoder is used, channels A/, B/ and I/ are not evaluated! To ensure that a single-ended encoder is correctly detected: ► Do not connect anything to pins A\, B\, I\, and do not connect these pins to ground (GND).
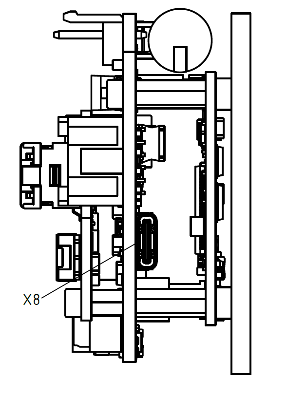
SSI encoder Pin 1 is marked with an "*" below. CLC3: CLC6: CLC15: Molex CLIK-Mate 5023820670Nanotec cable: ZK-MCM-6-500-S Molex CLIK-Mate 5023820670Nanotec cable: ZK-MCM-6-500-S Molex CLIK-Mate 5023820670Nanotec cable: ZK-MCM-6-500-S Pin Function Note Color Nanotec cable 1 Vcc +10 V DC, output and supply voltage for SSI encoder, max. 350 mA red 2 CLCK A up to 10 MHz green 3 CLCK B up to 10 MHz brown 4 DATA A white 5 DATA B gray 6 GND black
EtherCAT IN Pin 1 is marked with an "*" below. Type: RJ45 socket Pin Function Note 1 TD+ 2 TD− 3 RD+ 4 n.c 5 n.c. 6 RD− 7 n.c. 8 n.c.
EtherCAT OUT Pin 1 is marked with an "*" below. Type: RJ45 socket Pin Function Note 1 TD+ 2 TD− 3 RD+ 4 n.c 5 n.c. 6 RD− 7 n.c. 8 n.c.