Anschlussbelegung Spannungsversorgung Spannungsquelle Die Betriebs- oder Versorgungsspannung liefert eine Batterie, ein Transformator mit Gleichrichtung und Siebung, oder ein Schaltnetzteil. HINWEIS image/svg+xml EMV: Bei einer DC-Stromversorgungsleitung mit einer Länge von >30 m oder Verwendung des Motors an einem DC-Bus sind zusätzliche Entstör- und Schutzmaßnahmen notwendig. ► Lange Daten- oder Versorgungsleitungen sind durch Ferrite zu führen. ► Motorleitungen sind durch Ferrite zu führen (74271222 von Würth oder äquivalent). Anschlüsse Pin 1 ist mit einem "*" unten markiert. CLC3: CLC6: CLC15: JST B3B-XHNanotec-Kabel: ZK-XHP-3-500 JST B3B-VHNanotec-Kabel: ZK-VHR-3-500 Molex Mega-Fit 2002411113Nanotec-Kabel: ZK-MMEGA-3-500 Pin Funktion Bemerkung Farbe Nanotec-Kabel 1 +UB Eingangsspannung für die Hauptversorgung (Leistungsteil), 12 V - 57,6 V DC rot 2 +UB_Logic Eingangsspannung für die Logikversorgung 12 V - 30 V DC, max. Verbrauch ca. 1,2 A grün 3 GND GND schwarz Anmerkung: Die Logikversorgung versorgt die Elektronik, die Sensoren und die Kommunikationsschnittstelle. Die Wicklungen des Motors werden nicht von der Logikversorgung versorgt. Zulässige Betriebsspannung Die maximale Betriebsspannung beträgt 57,6 V DC. Steigt die Eingangsspannung der Steuerung über den in 2034h eingestellten Schwellwert, wird der Motor abgeschaltet und ein Fehler ausgelöst. Ab der in 4021h:02h eingestellten Ansprechschwelle wird der interne Brake-Chopper (Ballastwiderstand) dazugeschaltet. mit folgenden Eigenschaften: Eigenschaft CLC3 CLC6 CLC15 Widerstand in Ohm 22 22 15 Energieverbrauch bei kurzen Lastpulsen (< 1 s), [Ws] 87 55 162 Energie bei längerer Belastung (bis 5 s), [Ws] 7,3 7,3 29 Dauerkühlleistung, [W] 0,7 0,7 4,5 Die minimale Betriebsspannung beträgt 12 V DC. Fällt die Eingangsspannung der Steuerung unter 10 V, wird der Motor abgeschaltet und ein Fehler ausgelöst. An die Versorgungsspannung muss ein Ladekondensator von mindestens 4700 µF / 50 V (ca. 1000 µF pro Ampere Nennstrom) angeschlossen sein, um ein Überschreiten der zulässigen Betriebsspannung (z. B. beim Bremsvorgang) zu vermeiden. Motoranschluss Pin 1 ist mit einem "*" unten markiert. CLC3: CLC6: CLC15: JST B4B-XHNanotec-Kabel: ZK-XHP4-500-1 JST B4B-VHNanotec-Kabel: ZK-VHR-4-500 Molex Mega Fit 768290104Nanotec-Kabel: ZK-MMF-4-500 Pin Funktion CLC3/6 (Schritt- Motor) Funktion CLC3/6 (BLDC- Motor) Funktion CLC15 (nur BLDC- Motor) Farbe Nanotec -Kabel CLC3 CLC6 CLC15 1 A U U rot rot gelb 2 A\ V nicht benutzt schwarz schwarz - 3 B W V grün grün rot 4 B\ nicht benutzt W gelb blau schwarz Ein- und Ausgänge Pins 1 und 2 sind unten markiert. CLC3: CLC6: CLC15: Molex CLIK Mate 5031541490Nanotec-Kabel: ZK-MCM-14-500-S Molex CLIK Mate 5031541490Nanotec-Kabel: ZK-MCM-14-500-S Molex CLIK Mate 5031541490Nanotec-Kabel: ZK-MCM-14-500-S Pin Funktion Bemerkung Farbe Nanotec-Kabel 1 GND schwarz 2 Eingang 1 Digitaleingang 5 V / 24 V umschaltbar per Software mit Objekt 323Ah, Richtungseingang in Takt-Richtungs-Modus grün 3 Eingang 2 Digitaleingang 5 V / 24 V umschaltbar per Software mit Objekt 323Ah, Takteingang in Takt-Richtungs-Modus braun 4 Eingang 3 Digitaleingang 5 V / 24 V, umschaltbar per Software mit Objekt 323Ah, max. 1 MHz grau 5 Eingang 4 Digitaleingang 5 V bis 24 V, umschaltbar per Software mit Objekt 323Ah pink 6 Eingang 5 Digitaleingang 5 V / 24 V, umschaltbar per Software mit Objekt 323Ah, max. 1 MHz gelb 7 Eingang 6 Digitaleingang 5 V bis 24 V, umschaltbar per Software mit Objekt 323Ah braun / grün 8 Analog- Eingang 1 0 V…+24 V, 12-Bit-Auflösung violett 9 Analog- Eingang 2 0 V…+24 V, 12-Bit-Auflösung grau / pink 10 Ausgang 1 Digitalausgang, Push-Pull 5 V / 24 V (UB_Logic) umschaltbar per Software mit Objekt 323Ahh, max. 100 mA rot / blau 11 Ausgang 2 Digitalausgang, Push-Pull 5 V / 24 V (UB_Logic) umschaltbar per Software mit Objekt 323Ahh, max. 100 mA weiß / grün 12 Bremse + Gespeist von der UB_Logic (> 17 V nötig), bis 20 KHz, max. 1200 mA weiß 13 Bremse - PWM-gesteuerter Ausgang verbunden mit GND blau 14 UB_Logic 12 V - 30 V DC, max. Verbrauch ca. 1,5 A rot Inkrementalencoder/Hall-Sensoren Pin 1 und Pin 2 sind im Bild markiert. CLC3: CLC6: CLC15: JST S12B-PADSS-1 JST S12B-PADSS-1 JST S12B-PADSS-1 Passende Nanotec-Kabel (nicht im Lieferumfang enthalten): ZK-PADP-12-500-S ZK-NTO3-10-500-PADP ZK-NOE-10-500-S-PADP ZK-WEDL-500-S-PADP Pin Funktion Bemerkung 1 GND 2 Vcc 5 V DC, Ausgangs- und Versorgungsspannung für Encoder / Hall Sensor; max. 350 mA 3 A 5 V Signal, max. 1 MHz 4 B 5 V Signal, max. 1 MHz 5 A\ 5 V Signal, max. 1 MHz 6 B\ 5 V Signal, max. 1 MHz 7 I 5 V Signal, max. 1 MHz 8 I\ 5 V Signal, max. 1 MHz 9 Hall 1 5 V Signal 10 Hall 2 5 V Signal 11 Hall 3 5 V Signal 12 Shielding Schirmung SSI-Encoder Pin 1 ist mit einem "*" unten markiert. CLC3: CLC6: CLC15: Molex CLIK Mate 5023820670Nanotec-Kabel: ZK-MCM-6-500-S Molex CLIK Mate 5023820670Nanotec-Kabel: ZK-MCM-6-500-S Molex CLIK Mate 5023820670Nanotec-Kabel: ZK-MCM-6-500-S Pin Funktion Bemerkung Farbe Nanotec-Kabel 1 Vcc +10 V DC, Ausgangs- und Versorgungsspannung für SSI-Encoder, max. 350 mA rot 2 CLCK A bis zu 10 MHz grün 3 CLCK B bis zu 10 MHz braun 4 DATA A weiß 5 DATA B grau 6 GND schwarz EtherCAT IN Pin 1 ist mit einem "*" unten markiert. Typ: RJ45-Buchse Pin Funktion Bemerkung 1 TD+ 2 TD− 3 RD+ 4 n.c 5 n.c. 6 RD− 7 n.c. 8 n.c. EtherCAT OUT Pin 1 ist mit einem "*" unten markiert. Typ: RJ45-Buchse Pin Funktion Bemerkung 1 TD+ 2 TD− 3 RD+ 4 n.c 5 n.c. 6 RD− 7 n.c. 8 n.c. USB USB-C-Anschluss für die Konfiguration/Parametrierung. :
Anschlussbelegung Spannungsversorgung Spannungsquelle Die Betriebs- oder Versorgungsspannung liefert eine Batterie, ein Transformator mit Gleichrichtung und Siebung, oder ein Schaltnetzteil. HINWEIS image/svg+xml EMV: Bei einer DC-Stromversorgungsleitung mit einer Länge von >30 m oder Verwendung des Motors an einem DC-Bus sind zusätzliche Entstör- und Schutzmaßnahmen notwendig. ► Lange Daten- oder Versorgungsleitungen sind durch Ferrite zu führen. ► Motorleitungen sind durch Ferrite zu führen (74271222 von Würth oder äquivalent). Anschlüsse Pin 1 ist mit einem "*" unten markiert. CLC3: CLC6: CLC15: JST B3B-XHNanotec-Kabel: ZK-XHP-3-500 JST B3B-VHNanotec-Kabel: ZK-VHR-3-500 Molex Mega-Fit 2002411113Nanotec-Kabel: ZK-MMEGA-3-500 Pin Funktion Bemerkung Farbe Nanotec-Kabel 1 +UB Eingangsspannung für die Hauptversorgung (Leistungsteil), 12 V - 57,6 V DC rot 2 +UB_Logic Eingangsspannung für die Logikversorgung 12 V - 30 V DC, max. Verbrauch ca. 1,2 A grün 3 GND GND schwarz Anmerkung: Die Logikversorgung versorgt die Elektronik, die Sensoren und die Kommunikationsschnittstelle. Die Wicklungen des Motors werden nicht von der Logikversorgung versorgt. Zulässige Betriebsspannung Die maximale Betriebsspannung beträgt 57,6 V DC. Steigt die Eingangsspannung der Steuerung über den in 2034h eingestellten Schwellwert, wird der Motor abgeschaltet und ein Fehler ausgelöst. Ab der in 4021h:02h eingestellten Ansprechschwelle wird der interne Brake-Chopper (Ballastwiderstand) dazugeschaltet. mit folgenden Eigenschaften: Eigenschaft CLC3 CLC6 CLC15 Widerstand in Ohm 22 22 15 Energieverbrauch bei kurzen Lastpulsen (< 1 s), [Ws] 87 55 162 Energie bei längerer Belastung (bis 5 s), [Ws] 7,3 7,3 29 Dauerkühlleistung, [W] 0,7 0,7 4,5 Die minimale Betriebsspannung beträgt 12 V DC. Fällt die Eingangsspannung der Steuerung unter 10 V, wird der Motor abgeschaltet und ein Fehler ausgelöst. An die Versorgungsspannung muss ein Ladekondensator von mindestens 4700 µF / 50 V (ca. 1000 µF pro Ampere Nennstrom) angeschlossen sein, um ein Überschreiten der zulässigen Betriebsspannung (z. B. beim Bremsvorgang) zu vermeiden. Motoranschluss Pin 1 ist mit einem "*" unten markiert. CLC3: CLC6: CLC15: JST B4B-XHNanotec-Kabel: ZK-XHP4-500-1 JST B4B-VHNanotec-Kabel: ZK-VHR-4-500 Molex Mega Fit 768290104Nanotec-Kabel: ZK-MMF-4-500 Pin Funktion CLC3/6 (Schritt- Motor) Funktion CLC3/6 (BLDC- Motor) Funktion CLC15 (nur BLDC- Motor) Farbe Nanotec -Kabel CLC3 CLC6 CLC15 1 A U U rot rot gelb 2 A\ V nicht benutzt schwarz schwarz - 3 B W V grün grün rot 4 B\ nicht benutzt W gelb blau schwarz Ein- und Ausgänge Pins 1 und 2 sind unten markiert. CLC3: CLC6: CLC15: Molex CLIK Mate 5031541490Nanotec-Kabel: ZK-MCM-14-500-S Molex CLIK Mate 5031541490Nanotec-Kabel: ZK-MCM-14-500-S Molex CLIK Mate 5031541490Nanotec-Kabel: ZK-MCM-14-500-S Pin Funktion Bemerkung Farbe Nanotec-Kabel 1 GND schwarz 2 Eingang 1 Digitaleingang 5 V / 24 V umschaltbar per Software mit Objekt 323Ah, Richtungseingang in Takt-Richtungs-Modus grün 3 Eingang 2 Digitaleingang 5 V / 24 V umschaltbar per Software mit Objekt 323Ah, Takteingang in Takt-Richtungs-Modus braun 4 Eingang 3 Digitaleingang 5 V / 24 V, umschaltbar per Software mit Objekt 323Ah, max. 1 MHz grau 5 Eingang 4 Digitaleingang 5 V bis 24 V, umschaltbar per Software mit Objekt 323Ah pink 6 Eingang 5 Digitaleingang 5 V / 24 V, umschaltbar per Software mit Objekt 323Ah, max. 1 MHz gelb 7 Eingang 6 Digitaleingang 5 V bis 24 V, umschaltbar per Software mit Objekt 323Ah braun / grün 8 Analog- Eingang 1 0 V…+24 V, 12-Bit-Auflösung violett 9 Analog- Eingang 2 0 V…+24 V, 12-Bit-Auflösung grau / pink 10 Ausgang 1 Digitalausgang, Push-Pull 5 V / 24 V (UB_Logic) umschaltbar per Software mit Objekt 323Ahh, max. 100 mA rot / blau 11 Ausgang 2 Digitalausgang, Push-Pull 5 V / 24 V (UB_Logic) umschaltbar per Software mit Objekt 323Ahh, max. 100 mA weiß / grün 12 Bremse + Gespeist von der UB_Logic (> 17 V nötig), bis 20 KHz, max. 1200 mA weiß 13 Bremse - PWM-gesteuerter Ausgang verbunden mit GND blau 14 UB_Logic 12 V - 30 V DC, max. Verbrauch ca. 1,5 A rot Inkrementalencoder/Hall-Sensoren Pin 1 und Pin 2 sind im Bild markiert. CLC3: CLC6: CLC15: JST S12B-PADSS-1 JST S12B-PADSS-1 JST S12B-PADSS-1 Passende Nanotec-Kabel (nicht im Lieferumfang enthalten): ZK-PADP-12-500-S ZK-NTO3-10-500-PADP ZK-NOE-10-500-S-PADP ZK-WEDL-500-S-PADP Pin Funktion Bemerkung 1 GND 2 Vcc 5 V DC, Ausgangs- und Versorgungsspannung für Encoder / Hall Sensor; max. 350 mA 3 A 5 V Signal, max. 1 MHz 4 B 5 V Signal, max. 1 MHz 5 A\ 5 V Signal, max. 1 MHz 6 B\ 5 V Signal, max. 1 MHz 7 I 5 V Signal, max. 1 MHz 8 I\ 5 V Signal, max. 1 MHz 9 Hall 1 5 V Signal 10 Hall 2 5 V Signal 11 Hall 3 5 V Signal 12 Shielding Schirmung SSI-Encoder Pin 1 ist mit einem "*" unten markiert. CLC3: CLC6: CLC15: Molex CLIK Mate 5023820670Nanotec-Kabel: ZK-MCM-6-500-S Molex CLIK Mate 5023820670Nanotec-Kabel: ZK-MCM-6-500-S Molex CLIK Mate 5023820670Nanotec-Kabel: ZK-MCM-6-500-S Pin Funktion Bemerkung Farbe Nanotec-Kabel 1 Vcc +10 V DC, Ausgangs- und Versorgungsspannung für SSI-Encoder, max. 350 mA rot 2 CLCK A bis zu 10 MHz grün 3 CLCK B bis zu 10 MHz braun 4 DATA A weiß 5 DATA B grau 6 GND schwarz EtherCAT IN Pin 1 ist mit einem "*" unten markiert. Typ: RJ45-Buchse Pin Funktion Bemerkung 1 TD+ 2 TD− 3 RD+ 4 n.c 5 n.c. 6 RD− 7 n.c. 8 n.c. EtherCAT OUT Pin 1 ist mit einem "*" unten markiert. Typ: RJ45-Buchse Pin Funktion Bemerkung 1 TD+ 2 TD− 3 RD+ 4 n.c 5 n.c. 6 RD− 7 n.c. 8 n.c. USB USB-C-Anschluss für die Konfiguration/Parametrierung. :
Spannungsversorgung Spannungsquelle Die Betriebs- oder Versorgungsspannung liefert eine Batterie, ein Transformator mit Gleichrichtung und Siebung, oder ein Schaltnetzteil. HINWEIS image/svg+xml EMV: Bei einer DC-Stromversorgungsleitung mit einer Länge von >30 m oder Verwendung des Motors an einem DC-Bus sind zusätzliche Entstör- und Schutzmaßnahmen notwendig. ► Lange Daten- oder Versorgungsleitungen sind durch Ferrite zu führen. ► Motorleitungen sind durch Ferrite zu führen (74271222 von Würth oder äquivalent). Anschlüsse Pin 1 ist mit einem "*" unten markiert. CLC3: CLC6: CLC15: JST B3B-XHNanotec-Kabel: ZK-XHP-3-500 JST B3B-VHNanotec-Kabel: ZK-VHR-3-500 Molex Mega-Fit 2002411113Nanotec-Kabel: ZK-MMEGA-3-500 Pin Funktion Bemerkung Farbe Nanotec-Kabel 1 +UB Eingangsspannung für die Hauptversorgung (Leistungsteil), 12 V - 57,6 V DC rot 2 +UB_Logic Eingangsspannung für die Logikversorgung 12 V - 30 V DC, max. Verbrauch ca. 1,2 A grün 3 GND GND schwarz Anmerkung: Die Logikversorgung versorgt die Elektronik, die Sensoren und die Kommunikationsschnittstelle. Die Wicklungen des Motors werden nicht von der Logikversorgung versorgt. Zulässige Betriebsspannung Die maximale Betriebsspannung beträgt 57,6 V DC. Steigt die Eingangsspannung der Steuerung über den in 2034h eingestellten Schwellwert, wird der Motor abgeschaltet und ein Fehler ausgelöst. Ab der in 4021h:02h eingestellten Ansprechschwelle wird der interne Brake-Chopper (Ballastwiderstand) dazugeschaltet. mit folgenden Eigenschaften: Eigenschaft CLC3 CLC6 CLC15 Widerstand in Ohm 22 22 15 Energieverbrauch bei kurzen Lastpulsen (< 1 s), [Ws] 87 55 162 Energie bei längerer Belastung (bis 5 s), [Ws] 7,3 7,3 29 Dauerkühlleistung, [W] 0,7 0,7 4,5 Die minimale Betriebsspannung beträgt 12 V DC. Fällt die Eingangsspannung der Steuerung unter 10 V, wird der Motor abgeschaltet und ein Fehler ausgelöst. An die Versorgungsspannung muss ein Ladekondensator von mindestens 4700 µF / 50 V (ca. 1000 µF pro Ampere Nennstrom) angeschlossen sein, um ein Überschreiten der zulässigen Betriebsspannung (z. B. beim Bremsvorgang) zu vermeiden.
Spannungsquelle Die Betriebs- oder Versorgungsspannung liefert eine Batterie, ein Transformator mit Gleichrichtung und Siebung, oder ein Schaltnetzteil. HINWEIS image/svg+xml EMV: Bei einer DC-Stromversorgungsleitung mit einer Länge von >30 m oder Verwendung des Motors an einem DC-Bus sind zusätzliche Entstör- und Schutzmaßnahmen notwendig. ► Lange Daten- oder Versorgungsleitungen sind durch Ferrite zu führen. ► Motorleitungen sind durch Ferrite zu führen (74271222 von Würth oder äquivalent).
Anschlüsse Pin 1 ist mit einem "*" unten markiert. CLC3: CLC6: CLC15: JST B3B-XHNanotec-Kabel: ZK-XHP-3-500 JST B3B-VHNanotec-Kabel: ZK-VHR-3-500 Molex Mega-Fit 2002411113Nanotec-Kabel: ZK-MMEGA-3-500 Pin Funktion Bemerkung Farbe Nanotec-Kabel 1 +UB Eingangsspannung für die Hauptversorgung (Leistungsteil), 12 V - 57,6 V DC rot 2 +UB_Logic Eingangsspannung für die Logikversorgung 12 V - 30 V DC, max. Verbrauch ca. 1,2 A grün 3 GND GND schwarz Anmerkung: Die Logikversorgung versorgt die Elektronik, die Sensoren und die Kommunikationsschnittstelle. Die Wicklungen des Motors werden nicht von der Logikversorgung versorgt.
Zulässige Betriebsspannung Die maximale Betriebsspannung beträgt 57,6 V DC. Steigt die Eingangsspannung der Steuerung über den in 2034h eingestellten Schwellwert, wird der Motor abgeschaltet und ein Fehler ausgelöst. Ab der in 4021h:02h eingestellten Ansprechschwelle wird der interne Brake-Chopper (Ballastwiderstand) dazugeschaltet. mit folgenden Eigenschaften: Eigenschaft CLC3 CLC6 CLC15 Widerstand in Ohm 22 22 15 Energieverbrauch bei kurzen Lastpulsen (< 1 s), [Ws] 87 55 162 Energie bei längerer Belastung (bis 5 s), [Ws] 7,3 7,3 29 Dauerkühlleistung, [W] 0,7 0,7 4,5 Die minimale Betriebsspannung beträgt 12 V DC. Fällt die Eingangsspannung der Steuerung unter 10 V, wird der Motor abgeschaltet und ein Fehler ausgelöst. An die Versorgungsspannung muss ein Ladekondensator von mindestens 4700 µF / 50 V (ca. 1000 µF pro Ampere Nennstrom) angeschlossen sein, um ein Überschreiten der zulässigen Betriebsspannung (z. B. beim Bremsvorgang) zu vermeiden.
Motoranschluss Pin 1 ist mit einem "*" unten markiert. CLC3: CLC6: CLC15: JST B4B-XHNanotec-Kabel: ZK-XHP4-500-1 JST B4B-VHNanotec-Kabel: ZK-VHR-4-500 Molex Mega Fit 768290104Nanotec-Kabel: ZK-MMF-4-500 Pin Funktion CLC3/6 (Schritt- Motor) Funktion CLC3/6 (BLDC- Motor) Funktion CLC15 (nur BLDC- Motor) Farbe Nanotec -Kabel CLC3 CLC6 CLC15 1 A U U rot rot gelb 2 A\ V nicht benutzt schwarz schwarz - 3 B W V grün grün rot 4 B\ nicht benutzt W gelb blau schwarz
Ein- und Ausgänge Pins 1 und 2 sind unten markiert. CLC3: CLC6: CLC15: Molex CLIK Mate 5031541490Nanotec-Kabel: ZK-MCM-14-500-S Molex CLIK Mate 5031541490Nanotec-Kabel: ZK-MCM-14-500-S Molex CLIK Mate 5031541490Nanotec-Kabel: ZK-MCM-14-500-S Pin Funktion Bemerkung Farbe Nanotec-Kabel 1 GND schwarz 2 Eingang 1 Digitaleingang 5 V / 24 V umschaltbar per Software mit Objekt 323Ah, Richtungseingang in Takt-Richtungs-Modus grün 3 Eingang 2 Digitaleingang 5 V / 24 V umschaltbar per Software mit Objekt 323Ah, Takteingang in Takt-Richtungs-Modus braun 4 Eingang 3 Digitaleingang 5 V / 24 V, umschaltbar per Software mit Objekt 323Ah, max. 1 MHz grau 5 Eingang 4 Digitaleingang 5 V bis 24 V, umschaltbar per Software mit Objekt 323Ah pink 6 Eingang 5 Digitaleingang 5 V / 24 V, umschaltbar per Software mit Objekt 323Ah, max. 1 MHz gelb 7 Eingang 6 Digitaleingang 5 V bis 24 V, umschaltbar per Software mit Objekt 323Ah braun / grün 8 Analog- Eingang 1 0 V…+24 V, 12-Bit-Auflösung violett 9 Analog- Eingang 2 0 V…+24 V, 12-Bit-Auflösung grau / pink 10 Ausgang 1 Digitalausgang, Push-Pull 5 V / 24 V (UB_Logic) umschaltbar per Software mit Objekt 323Ahh, max. 100 mA rot / blau 11 Ausgang 2 Digitalausgang, Push-Pull 5 V / 24 V (UB_Logic) umschaltbar per Software mit Objekt 323Ahh, max. 100 mA weiß / grün 12 Bremse + Gespeist von der UB_Logic (> 17 V nötig), bis 20 KHz, max. 1200 mA weiß 13 Bremse - PWM-gesteuerter Ausgang verbunden mit GND blau 14 UB_Logic 12 V - 30 V DC, max. Verbrauch ca. 1,5 A rot
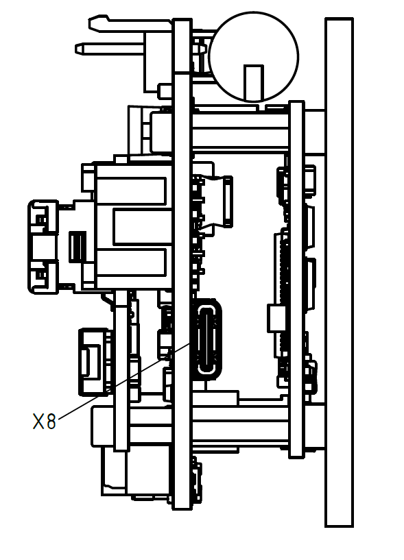
Inkrementalencoder/Hall-Sensoren Pin 1 und Pin 2 sind im Bild markiert. CLC3: CLC6: CLC15: JST S12B-PADSS-1 JST S12B-PADSS-1 JST S12B-PADSS-1 Passende Nanotec-Kabel (nicht im Lieferumfang enthalten): ZK-PADP-12-500-S ZK-NTO3-10-500-PADP ZK-NOE-10-500-S-PADP ZK-WEDL-500-S-PADP Pin Funktion Bemerkung 1 GND 2 Vcc 5 V DC, Ausgangs- und Versorgungsspannung für Encoder / Hall Sensor; max. 350 mA 3 A 5 V Signal, max. 1 MHz 4 B 5 V Signal, max. 1 MHz 5 A\ 5 V Signal, max. 1 MHz 6 B\ 5 V Signal, max. 1 MHz 7 I 5 V Signal, max. 1 MHz 8 I\ 5 V Signal, max. 1 MHz 9 Hall 1 5 V Signal 10 Hall 2 5 V Signal 11 Hall 3 5 V Signal 12 Shielding Schirmung
SSI-Encoder Pin 1 ist mit einem "*" unten markiert. CLC3: CLC6: CLC15: Molex CLIK Mate 5023820670Nanotec-Kabel: ZK-MCM-6-500-S Molex CLIK Mate 5023820670Nanotec-Kabel: ZK-MCM-6-500-S Molex CLIK Mate 5023820670Nanotec-Kabel: ZK-MCM-6-500-S Pin Funktion Bemerkung Farbe Nanotec-Kabel 1 Vcc +10 V DC, Ausgangs- und Versorgungsspannung für SSI-Encoder, max. 350 mA rot 2 CLCK A bis zu 10 MHz grün 3 CLCK B bis zu 10 MHz braun 4 DATA A weiß 5 DATA B grau 6 GND schwarz
EtherCAT IN Pin 1 ist mit einem "*" unten markiert. Typ: RJ45-Buchse Pin Funktion Bemerkung 1 TD+ 2 TD− 3 RD+ 4 n.c 5 n.c. 6 RD− 7 n.c. 8 n.c.
EtherCAT OUT Pin 1 ist mit einem "*" unten markiert. Typ: RJ45-Buchse Pin Funktion Bemerkung 1 TD+ 2 TD− 3 RD+ 4 n.c 5 n.c. 6 RD− 7 n.c. 8 n.c.